|

Schritt 30:
Entnehmen Sie vom Sperrholz 1 ,2 mm nun die Rahmenleisten für die große Kuhl Nr. 72 und 73 und vom Sperrholz 3 mm die Traversen Nr. 74. Bringen Sie die Augbolzen und Ringe an den Leisten Nr. 72, wie aus Foto 9 ersichtlich, an. Vor irgendwelcher Verleimung passen Sie den Lukensüll erst einmal sorgfältig ein. Erst danach fixieren Sie ihn mit Sekundenkleber. Foto 9 und Bogen 4 zeigen die Anordnung der 32 Geländerstützen (12 mm) und der 4 Niedergänge. Bohren Sie jeweils Löcher von 1 mm 0, und leimen Sie die Stützen mit Sekundenkleber ein. Für den Handlauf verwenden Sie Garn von 0,75 mm 0.
Schritt 31:
Die Unterteile für die Finknetzreling Nr. 75 für den Großmast und Nr. 76 für den Kreuzmast entnehmen Sie dem Sperrholz 1,2 mm. Schneiden Sie aus einer Nußbaumleiste 4x4 mm gleich 13 Würfel von 4 mm zu. Setzen Sie die Balustrade zusammen. Bohren Sie in die obere Abdeckleiste Löcher von 1 mm 0 für die Finknetzreling-Stützen. Auf Bogen 4 rechts oben sind die Messing-Ätzteile mit Nummern und Buchstaben versehen, so daß Sie die richtigen Stützen für die richtige Stelle ermitteln können, die in der Draufsicht des Rumpfes wiederum vermerkt sind.
Ziehen Sie Takelgarn 0,5 mm als Reling ein, und befestigen Sie daran mit Sekundenkleber die Finknetze. Die Netze müssen Sie vor dem Zuschneiden mit einem Dampfbügeleisen bei niedriger Temperatur glatt bügeln. Biegen Sie die Netzte vor dem Befestigen u-förmig vor, und bügeln Sie die Ecken fest, damit Sie die Netze perfekt plazieren und verleimen können.
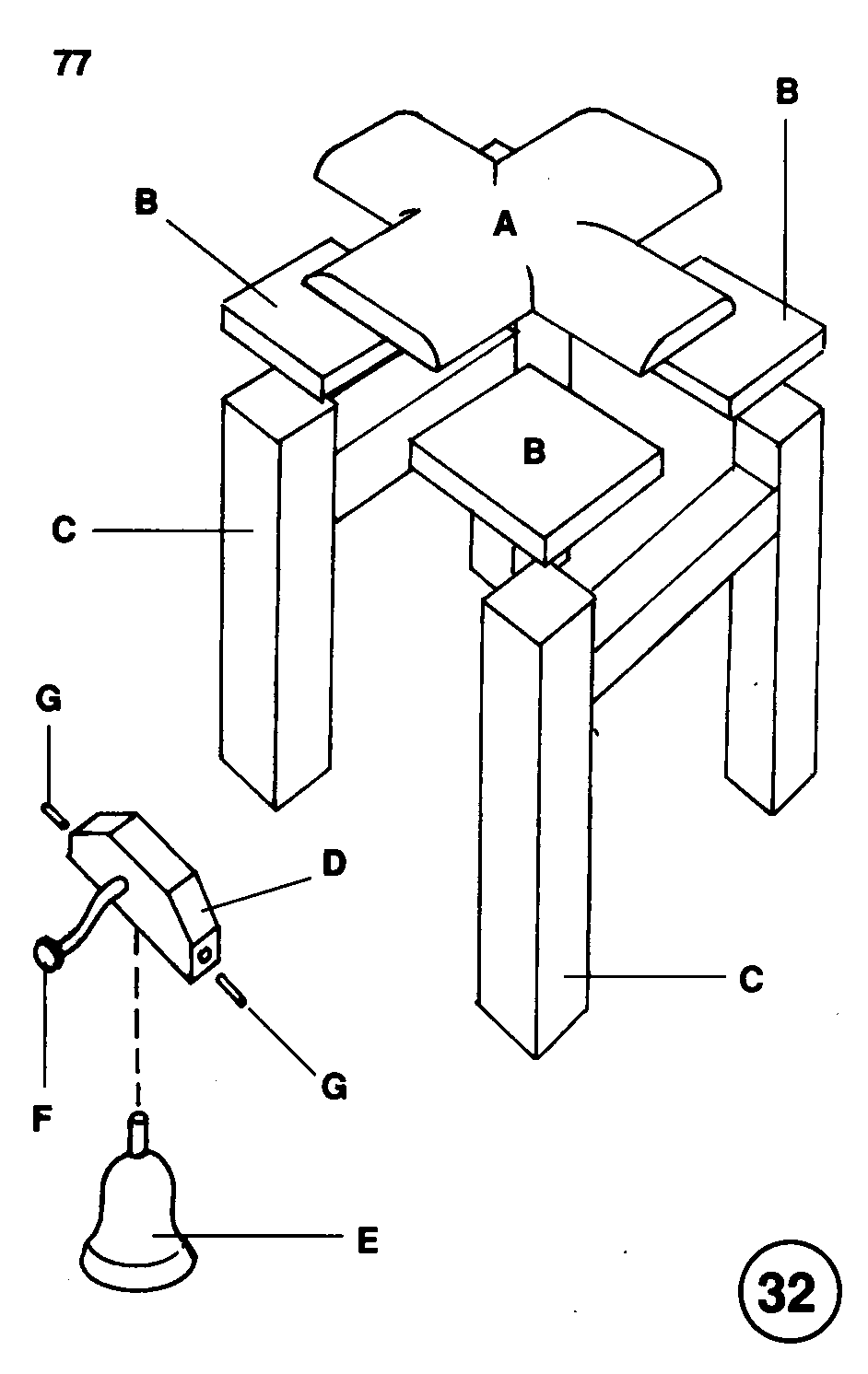
Schritt 32:
Lösen Sie aus dem Sperrholz 2 mm die Teile Nr. 77, und setzen Sie das Glockenhaus gemäß Zeichnung 32 zusammen. Die Glocke befestigen Sie mit einem Drahtstück von 0,5 mm. Den Schwengel stellen Sie aus einem kleinen Nagel her.
Dieses Foto zeigt die Anordnung der Geduld für das Focksegel, deren Teile Nr. 78A und B Sie dann dem Sperrholz 3 mm entnehmen. Stellen Sie den Küchenkamin Nr. 79 aus Rundholz 5 mm her. Zeichnung 33 zeigt die Anordnung und Befestigung auf dem 2 mm starken Sockel.
Schritt 33:
Sowohl aus Sperrholz 1,2 mm als auch 3 mm lösen Sie die Teile Nr. 80 heraus und montieren die Spiegelknie, die Flaggenstockhalterung und die Abschlußkästen an der Innenseite des Spiegels entsprechend Foto 11.
Schritt 34:
Die Teile für Knechte und Beting Nr. 81 bis 85 entnehmen Sie dem Sperrholz 3 mm. Feilen sie die Köpfe, wie in Zeichnung 34 dargestellt, zu. Stellen Sie die Betinge Nr. 81 am Kreuzmast Nr. 82 am Großmast und 2 Stück Nr. 83 am Fockmast gemäß Bogen 4 auf. Die Knechte Nr. 84 am Bug und Nr. 85 am Großmast setzen Sie wie die Betinge mit Stiften am Deck fest und verleimen sie mit der Bordwand.
Schritt 35:
Foto 12 zeigt die hintere Finknetz-Reling, deren Teile Sie dem 2-mm-Sperrholz entnehmen und zusammenleimen. Richten Sie sich nach Plan bogen 4, und montieren Sie auch die beiden Treppen. Bohren Sie die Löcher für die Stützen der Finknetz-Reling, und fädeln Sie die Handläufe aus Takelgarn 0,75 mm ein.

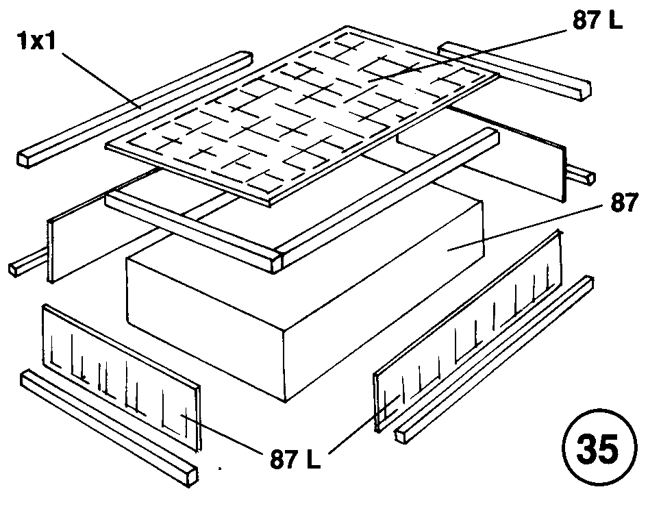
Schritt 36:
Das Oberlicht Nr. 87 für das Oberdeck stellen Sie aus einem Klotz 7x13x30 mm her, den Sie mit Nußbaumleisten 1 x1 mm umrahmen. Die Ätzteile Nr. 87l vervollständigen dann das Oberlicht. Zeichnung 35 zeigt den Aufbau. Gemäß Zeichnung 36 bauen Sie das Kompaßhaus auf, dessen Teile Sie dem Sperrholz 5 mm und 1,2 mm entnehmen.
Schritt 37:
lösen Sie aus der Messingplatte alle u-förmigen Relingstützen von A bis I, bohren Sie gemäß Bogen 4 jeweils Löcher von 1 mm 0 vor, und leimen Sie die Stützen ein. Ziehen Sie mit Garn (0,75 mm) die Reling durch, und befestigen Sie die Finknetze, wie in Schritt 31 beschrieben.
Schritt 38:
Setzen Sie unter sparsamster Verwendung von Sekundenkleber die 4 Laternen Nr. 89 gemäß Zeichnung 38 zusammen. Für die Heckleuchten leimen Sie die Halterungen 89l (Ätzteil) am Spiegel ein. Biegen Sie mit einer Rundzange die Ständerpassend um. Die Abbildung des Spiegels auf dem Baukastenkarton zeigt genau die Anordnung der Laternen. Das vierte licht wird später am Großmast befestigt (Planbogen 5). Schneiden Sie aus einer Nußbaumleiste 4x4 mm nun die beiden Flaschenzugträger zu und bringen Sie die Bohrungen gemäß Zeichnung 39 an. Die Kranbalken werden am Spiegel verleimt, wie es wiederum am besten auf der Karton-Abbildung zu erkennen ist.
Schritt 39:
lösen Sie aus dem Sperrholz 1,2 mm alle Beibootträger Nr. 90 und alle Nagelbänke Nr. 91. Bohren Sie in die Nagelbänke Löcher von 1 mm 0 entsprechend Bogen 4, und leimen Sie diese an die Bordwand.
Die 6 Beiboote sind nicht im Baukasten enthalten. Sie haben dadurch freie Wahl, ob Sie die Boote aus Plastik oder Holz nehmen wollen. Die Maße der Boote sind gleich. In Plastik sind sie natürlich leichter zusammenzubauen (Foto 13). Zeichnung 40 zeigt die Anordnung der 4 Beiboote auf der Kuhl mit Takelung.

Bemastung:
Bevor Sie mit der Arbeit beginnen, lesen Sie bitte die nachstehenden Hinweise. Legen Sie Planbogen 5 vor sich auf einen Tisch. So haben Sie einen guten Überblick über die Arbeiten, die Sie jetzt angehen wollen.
Der Plan zeigt die Masten und Stengen in Originalgröße.
Die an jedem Mast sichtbaren Maße bedeuten:
0 Max = größter Durchmesser
0 Min = kleinster Durchmesser
L = Länge.
Längen Sie alle Masten von den Rundhölzern ab. Verjüngen Sie die Masten am besten unter Verwendung einer elektrischen Bohrmaschine mit Schleifpapier. Die Zeichnungen 1 und 2 zeigen, wie man es auch mit Handhobel und Schleifklotz machen kann.
Schritt 40:
Bugspriet:
Entnehmen Sie den Sperrholzplatten das Eselshaupt Nr. 92, die Knechte Nr. 93 (zurichten, wie in Schritt 34 beschrieben), die Bugsprietstücke Nr. 94 und die Galionsbrücke Nr. 95, die mit dem Ätzteil Nr. 95L versehen wird.
Verleimen Sie die genannten Teile entsprechend der Zeichnung auf Planbogen 5. Setzen Sie die beiden Tauführungen Nr. 96 und die beiden Verstärkungen, die aus Leisten 2x6 mm abgelängt werden. Passen Sie den Bugspriet durch die Öffnung der Galionsbrücke am Kiel an.
Großmast:
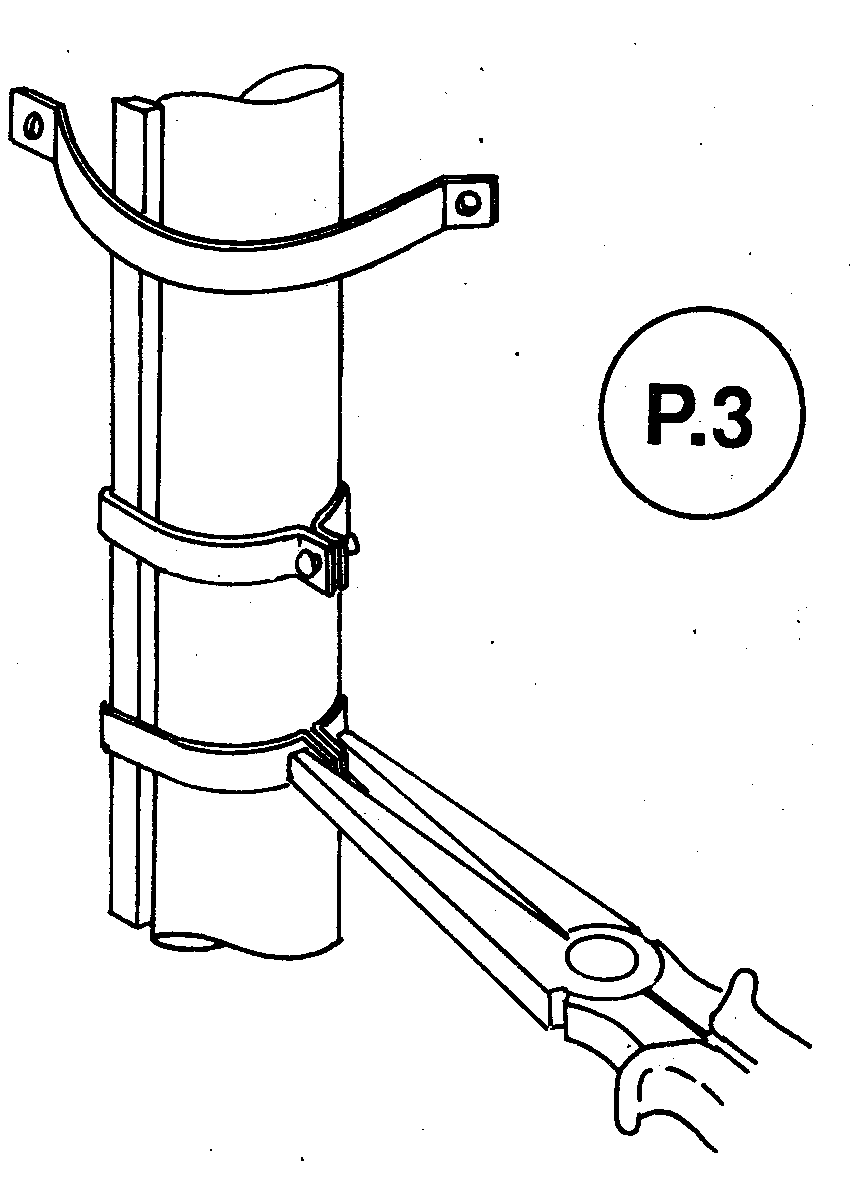
Die Montage vom Großmast ist gleich dem Aufbau der anderen Maste. Lösen Sie aus den Sperrholzplatten die Teile Nr. 97, 98,100, 101A, 101B, 102, 103, 104. Leimen Sie auf den Mast die Seitenverstärkungen (Leiste 2x6 mm) und die Polster (Leiste 2x2 mm).
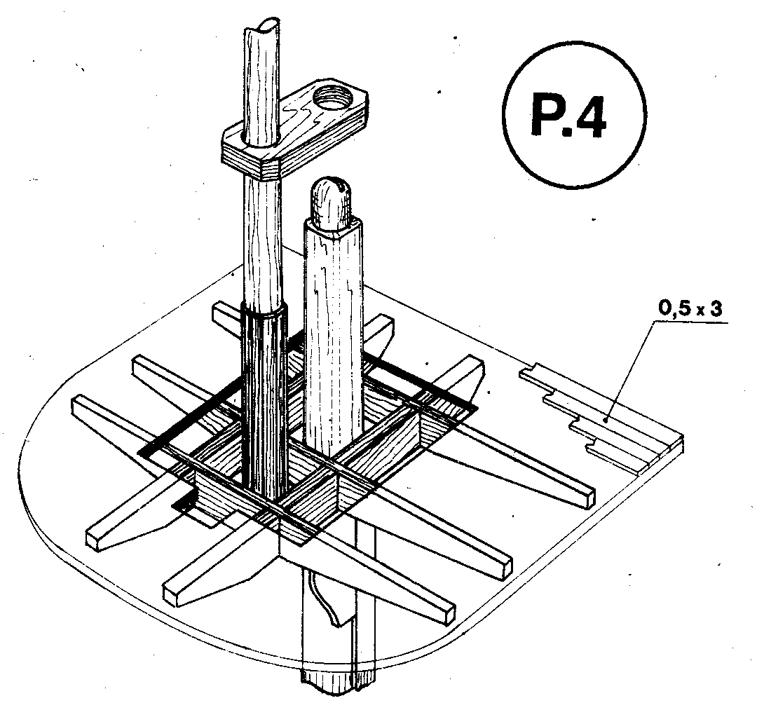
Montieren Sie die Mastbänder aus Kupferband 0,3x2 mm (Zeichnung P 3). Bauen Sie den Masttop 104, wie auf Zeichnung P 4, gezeigt, und beplanken Sie die Oberseite der Mars mit Nußbaumleisten 0,5x3 mm. Bohren Sie die Durchführungen für die

Püttingswanten gemäß Zeichnung P 5. Setzen Sie an der Rückseite der Mars die 4 Relingstützen und montieren Sie das Licht Nr. 89 mit der Halterung Nr. 89L. Leimen Sie die Mars auf den Masttop, und kleben Sie die beiden Mastbacken Nr. 97 an. Verkleiden Sie entsprechend Zeichnung P 6 den unteren Teil der Marsstenge (0 6x230 mm) mit Leisten 0,5x3 mm. Setzen Sie das Eselshaupt Nr. 100, und leimen Sie die Stenge auf den Untermast.
Montieren Sie die Saling unter Verwendung der Teile Nr. 102 und den Leisten 1 x2 mm. Leimen Sie die Saling auf die Mastbacken Nr. 98, setzen Sie Eselshaupt Nr. 103 auf, und montieren Sie die Bramstenge (0 4x200 mm).
Fockmast:
Neben den 3 Mastteilen (Untermast, Marsstenge, Bramstenge) verwenden Sie die Mastbacken Nr. 98 und 99, die Marsteile Nr. 106 und 108, die Eselshäupter Nr. 107 und 110, die Saling Nr. 109 und die Mastfischung Nr. 116. Alle Teile entnehmen Sie den Sperrholzplatten und montieren diese, wie beim Großmast beschrieben.
Kreuzmast:
Wie beim Fockmast verwenden Sie neben den 3 Mastteilen die Mastbacken Nr. 98 und 99, die Marsteile Nr. 105 und 112, die Salingteile Nr. 114, die Eselshäupter Nr.111und113.
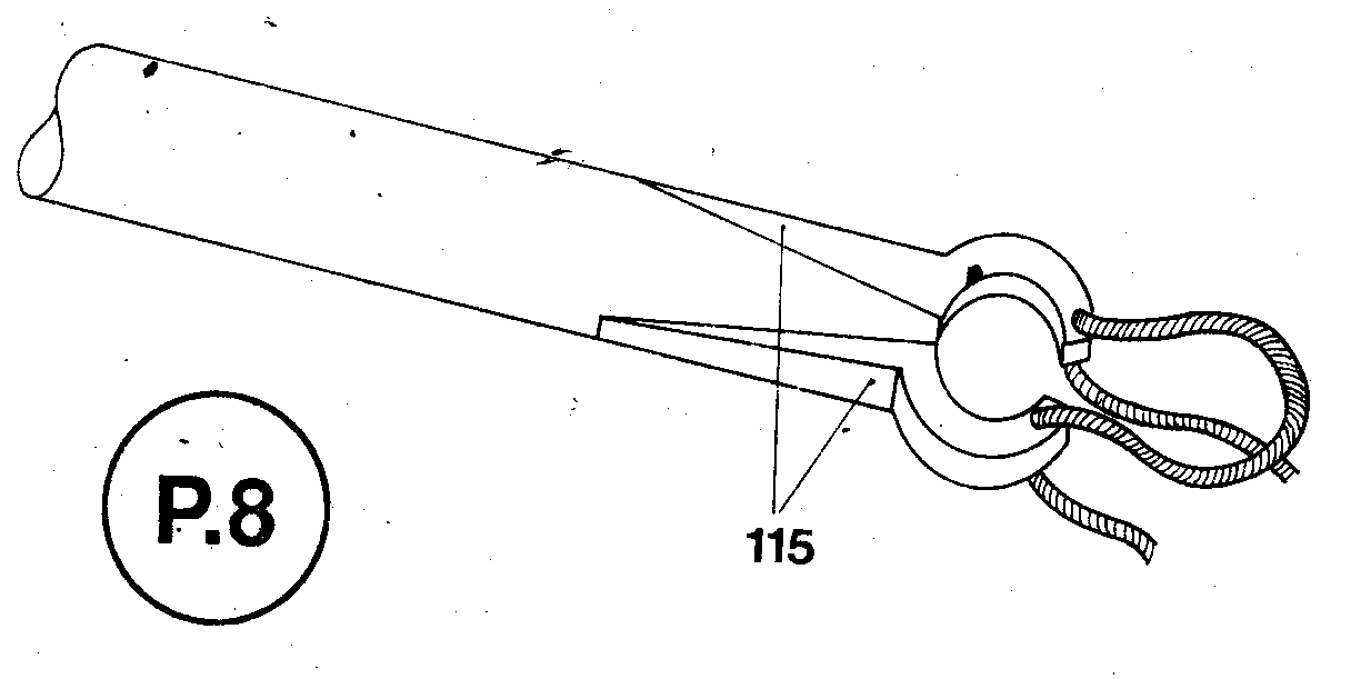
Stellen Sie die Gaffeln gemäß Zeichnung P 8 her. Bohren Sie Löcher von 0,7 mm 0 und leimen Sie die Augbolzen A ein. Nach dem Aushärten und Verputzen lackieren Sie die Masten zweimal mit Transparentlack. Setzen Sie den Schiffsständer aus den Teilen Nr. 119, 120 und den Rundhölzern (0 14x300 mm) zusammen. Setzen Sie den Rumpf auf den Ständer, passen Sie die Masten ein, und richten Sie sie genau aus. Erst nach dem Ausrichten verleimen Sie die Mastfischungen Nr. 116, 117 und 118 mit dem Deck.
Schritt 41:
Längen Sie alle Rahen und Stengen von den Rundhölzern ab, wobei Sie sich nach den Maßangaben auf Planbogen 5 richten. Leimen Sie die Augbolzen ein, und setzen Sie die Fußperde (Länge 16 mm) aus Takelgarn 0,75 mm 0, wie auf den Zeichnungen P 9 und P 10, gezeigt. Setzen Sie alle Blöcke und Augbolzen A, wobei Sie mit Sorgfalt der Zeichnung auf Plan bogen 6 folgen müssen. Alle Rahen sind so gezeichnet, wie sie ohne Segel stehen müssen.
Wenn Sie Ihre Victory mit Segeln ausstatten wollen, die nicht im Modellbaukasten enthalten sind, so finden Sie in allen guten Modellbaugeschäften den entsprechenden Satz fertig genähte Segel (Bestell-Nr. 34207).  |